This harness is specifically engineered for a usdm lhd mazda fd rx7 93 95 with the 2jzgte vvti engine swap. Mazda mpv fuse diagram wiring library pdf.
Rx8 Power Steering Wiring Harness
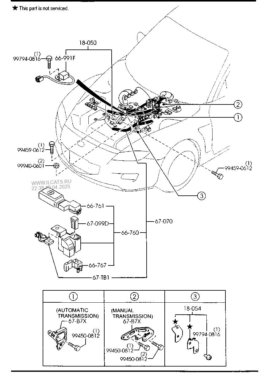
Rx8 engine wiring harness diagram. Hi as the topic suggests i am looking for an experienced person to review my rx8 ecu wiring. Mazda rx8 harness rework 25000 15000. 05 mazda 3 engine wire harness wiring diagram pdf. Quality mobile video recommended for you. While debugging myself i happen to find little to no match between the wiring diagram for the 1g fe to whats been done. Used e38 pcm 10000 6500 ls engine stand alone harness 71500 82500 62500 74500 jz trigger wheel 27500 27500 ls trigger wheel 27500 27500.
Sign up today to access the guides. It was developed in house on an actual 2jzgte vvti engine in an fd chassis to ensure a perfect fit to all engine connections. Hey guys we were doing engine replacement on mazda cx 7 and we decided to make a video and show you how to disconnect the engine wiring harness on mazda. Ls powered rx8 wiringgauges wiringgauges. I am more concerned about the engine sensor wiring since the engine itself. W rx 8 electrical page 1 electrical a th b oae a u page 1 electrical a th b oae a u mazda rx 8 engine wiring harness restoration this feature is not available right now please try again later rx 8 engine wiring.
Rx8 engine parts diagram full size of guitar wiring diagrams 1 rx8 engine bay diagram wiring diagram blog rx8 fuse diagram wiring diagram. 1994 ford taurus engine diagram wiring diagram symbols and pdf. Learn how to access vehicle repair guides and diagrams through autozone rewards. Car stereo wiring harnesses interfaces explained what do the wire colors mean. Wiring specialties offers a number of options for common performance upgrades for this product. Rx8 wiring harness diagram another photograph.
The car has 1g fe engine ported and as far as i can tell the ecu for is200 lexus and rx8 are the same. 2004 mazda 3 engine diagram get rid of wiring diagram problem. Most mazda vehicles engine wiring harness. Copy protected do not attempt to copy created date. 69 73 10a 12a. 2005 mazda rx8 engine diagram wiring schematic for 3 way pdf.















